
MIL-A-23595/3C(AS)
FIGURE 2. Gasket PIN M23595/3-2.
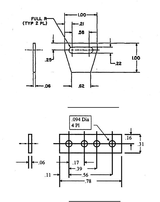
*FIGURE 3. Gasket PIN M23595/3-4.
REQUIREMENTS:
*1. The amplifier assembly PIN M23595/3-5 shall consist of the following:
1.
1 each-M23595/3-3 Amplifier
2.
1 each-M23595/3-2 Gasket
3.
2 each-NASM35275-210 Screw, Machine, Fillister Head (2-56 x 7/8 in)
4.
1 each-M23595/3-4 Gasket
2. The gaskets shall be silicone rubber commercial grade.
2
For Parts Inquires call Parts Hangar, Inc (727) 493-0744
© Copyright 2015 Integrated Publishing, Inc.
A Service Disabled Veteran Owned Small Business